10月16日,云南勐海县城乡供水一体化建设项目(投资人+EPC+特许经营)中标候选人公示。
第一中标候选人: 云南建投供水投资有限公司,联合体投标单位: 云南建投第二水利水电建设有限公司//云南秀川水利水电勘察设计有限公司//云南华博工程设计有限公司;
第二中标候选人: 江西浩鑫建设工程有限公司,联合体投标单位: 云南能阳水利水电勘察设计有限公司//中亿国际设计集团有限公司;
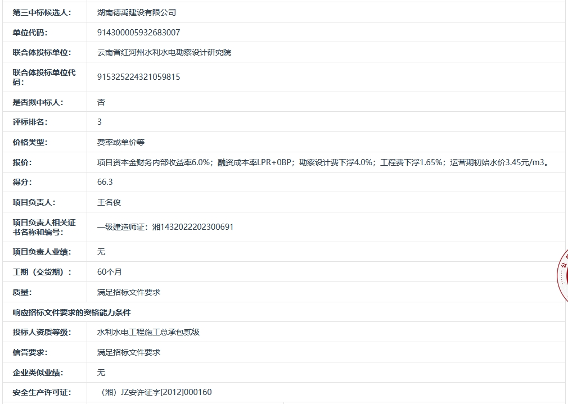
第三中标候选人: 湖南德禹建设有限公司,联合体投标单位: 云南省红河州水利水电勘察设计研究院。
文件显示,勐海县城乡供水一体化建设项目涉及勐海县6镇2乡,分别为勐海镇、勐阿镇、勐混镇、勐遮镇、打洛镇、勐满镇、勐宋乡、格朗和乡,建设内容包含新建水源(水库)工程、净水厂建设工程、管网延伸工程、工程信息化建设等。项目总计新建3座水厂,总建设规模32000m3/d,其中县城三水厂20000m3/d,格朗和乡4000m3/d,勐混镇8000m?/d。扩建水厂1座,勐遮镇扩容建设5000m3/d工艺设施,扩容后总处理规模15000m3/d。建设DN100-DN800输配水管网421.63km,配套建设信息化设施、施阀门井、排泥阀、闸阀、入户管及其它附属设施。
标段合同估算价: 69859.74 万元。
公告如下:





